Samsung вивчає можливість випуску голографічних телевізорів
Фото: Samsung вивчає можливість випуску голографічних телевізорів
Про терміни практичного впровадження патенту на даний момент нічого не повідомляється
Компанія Samsung подала патентну заявку в управління США по патентах і торгових марках на "Обладнання та засоби голографічного дисплея для забезпечення поліпшеного якості зображення", повідомляє 3dnews.uk
В заявці йдеться про нову систему формування об'ємної картинки, яка буде позбавлена недоліків, властивих традиційним 3D-телевізорів – неприємні відчуття при тривалому перегляді, обмежена кількість точок огляду, необхідність носіння спеціальних окулярів тощо. Зокрема, в системі передбачається можливість використання голографічного 3D-ефекту.

"Для глядача зображення буде виглядати як би ширяючим у повітрі. При цьому для його перегляду не потрібні окуляри", - зазначає видання.
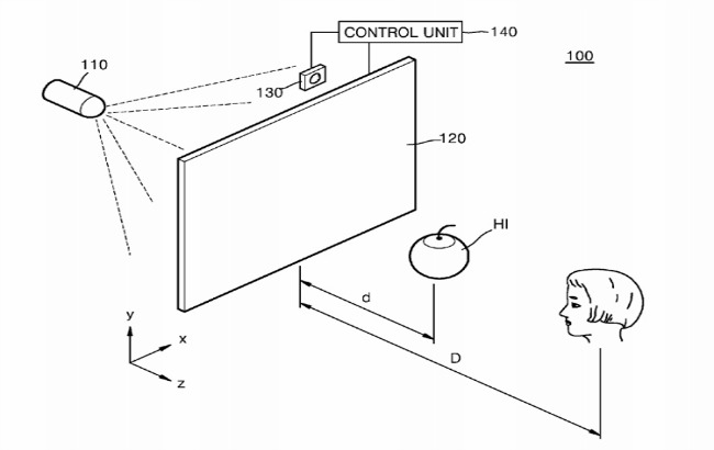
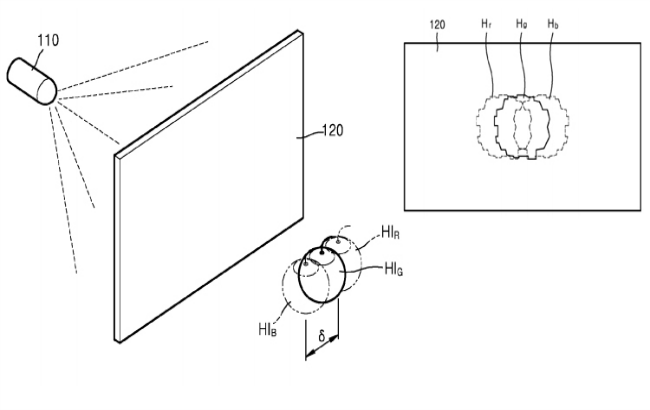
Описаний в патенті комплекс включає в себе лазерний джерело світла, блок управління, просторовий модулятор світла, а також блок стеження за користувачем.

Про терміни практичного впровадження запропонованої системи на даний момент нічого не повідомляється.
Нагадаємо, Samsung запатентував згортається в рулон телевізор.