Apple запатентувала віртуальні кнопки для смартфонів
Фото: в iPhone можуть з'явитися віртуальні кнопки (portaltele.com.ua)
Терміни реалізації нововведень поки не відомі
Бюро з реєстрації патентів і торгових марок США видало Apple патент, який описує особливу технологію реалізації віртуальних кнопок на смартфонах, повідомляє Український телекомунікаційний портал.
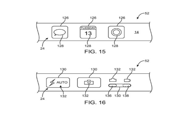
Згідно з патентом, фізичні кнопки на бічних гранях iPhone можуть бути замінені на інтерактивні дисплеї з віртуальними елементами управління. Зокрема, може бути створена гнучка РК-панель, що заходять на торці корпусу iPhone. Додатковий екран, розташований як мінімум на одній з кромок, може використовуватися для відображення різної інформації і відображення елементів керування мобільних пристроєм.

У патенті Apple зазначається, що сенсорні панелі на бічних сторонах iPhone принесуть смартфону ряд нових корисних властивостей: сюди можуть бути перенесені іконки додатків, деякі функції, елемент розблокування операційної системи, кнопки для управління музикою, запуску камери та інше.

Терміни реалізації нововведень не зазначаються.
Нагадаємо, раніше Apple запатентував iPhone з круговим дисплеєм.